爱笑天使动物关爱中心

 找回密码
 立即注册
搜索
热搜: 活动 交友 discuz
查看: 10006|回复: 5

2018年2月财务报表

[复制链接]
发表于 2018-3-30 17:47 | 显示全部楼层














2月拉布拉多慈善团捐款明细如下:




 楼主| 发表于 2018-3-30 17:28 | 显示全部楼层 |阅读模式
各位热心人士:      
      我们衷心感谢大家一直以来对爱笑天使动物关爱中心的支持和帮助,感谢“拉布拉多慈善团”和“慈善助养团”持续对我们救助站的大力支持;感谢所有助养站内小朋友的爱心人士;感谢捐赠物资的朋友;感谢所有牺牲周末时间进站帮忙的义工朋友;感谢所有关注我们、关心我们、帮助我们的朋友。在此我们再次致以十万分的感谢!下面是我们救助站2018年2月的财务统计及明细情况,请社会各界人士监督检查并指正我们的工作。     
    2月收到各项捐款总额为:¥253,459.70 元,支出总额为:¥41,006.42 元,支出主要用于购买猫狗食用粮食及肉类费用、运输费、动物医疗费以及支付工人的劳务费用等。
(帐表上有缺漏错误的地方请大家指出,我们会及时核对更正,十分感谢!)


 楼主| 发表于 2018-3-30 17:49 | 显示全部楼层
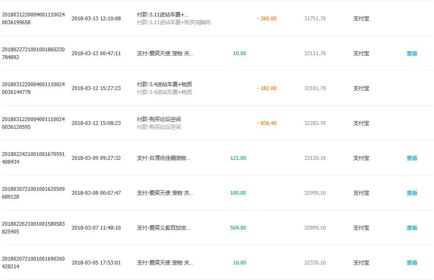
2-1.jpg
2-2.jpg
2-3.jpg
2-4.jpg
2-5.jpg
2-6.jpg
2-7.jpg
2-8.jpg
2-9.jpg
2-10.jpg
2-11.jpg
2-12.jpg
2-13.jpg
2-14.jpg
2-15.jpg
2-16.jpg
2-17.jpg
2-18.jpg
2-19.jpg

发表于 2018-4-2 23:16 | 显示全部楼层
从灵析交付的助养费已于2.28提现到对公账户,下图为2018.1.26-2018.2.28收到的助养费明细
1.26.png 2.28.png
发表于 2018-4-8 15:16 | 显示全部楼层
爱笑个人淘宝店明细:






爱笑企业淘宝店明细:




发表于 2018-4-8 17:24 | 显示全部楼层
微店收入明细:
成交时间
订单编号
商品名称
订单总金额
买家微信昵称
2018/2/28 15:25
12891335839755472725
助养猫咪一个月
50
★大苹果★
2018/2/28 0:25
12891335839755438319
爱笑天使2018年公益台历
39
🛀 飛飛飛飛飛飞🎈
2018/2/27 3:20
12891335839755369174
我要捐红包
5
马里奥
2018/2/26 10:09
12891335839755308188
我要捐红包
20
Orange
2018/2/25 23:58
12891335839755295250
我要捐红包
25
松鼠Joyce
2018/2/25 23:57
12891335839755295229
猫糖(猫咪吸X专业)
32
珊豬
2018/2/25 2:08
12891335839755203895
狗粮款募捐--5元一斤比乐
5
邻家小肥2
2018/2/25 2:07
12891335839755203876
猫粮款募捐-5元一斤比乐
5
邻家小肥2
2018/2/24 15:24
12891335839755152209
猫咪体内驱虫药
25
Amy
2018/2/24 15:24
12891335839755152158
爱沃克进口猫咪体外驱虫药
50
Amy
2018/2/24 12:05
12891335839755142426
狗粮款募捐--5元一斤比乐
5
C
2018/2/24 10:02
12891335839755131828
狗粮款募捐--5元一斤比乐
20
士多啤梨🍓
2018/2/24 10:02
12891335839755131821
猫粮款募捐-5元一斤比乐
20
士多啤梨🍓
2018/2/24 9:38
12891335839755130676
我要捐红包
5
Miley
2018/2/24 6:47
12891335839755121754
狗粮款募捐--5元一斤比乐
50
Wang
2018/2/24 6:46
12891335839755121727
猫粮款募捐-5元一斤比乐
50
Wang
2018/2/24 1:25
12891335839755119318
我要捐红包
25
松鼠Joyce
2018/2/24 0:19
12891335839755117834
医疗费募捐
5
子非鱼
2018/2/23 23:39
12891335839755116310
助养小型狗狗1一个月
100
Rain🍭Li
2018/2/23 18:33
12891335839755099059
猫粮款募捐-5元一斤比乐
10
莫宇红
2018/2/23 18:31
12891335839755099000
医疗费募捐
10
莫宇红
2018/2/23 18:21
12891335839755098757
医疗费募捐
10
kim
2018/2/21 22:39
12891335839755003426
医疗费募捐
10
彭敏
2018/2/21 10:19
12891335839754970611
医疗费募捐
5
木萍·13660766147
2018/2/20 18:18
12891335839754921793
助养猫咪一个月
50
嚒嚒MuM林小莜
2018/2/20 12:16
12891335839754910410
我要捐红包
100
三水心
2018/2/18 22:16
12891335839754853742
医疗费募捐
25
小妙
2018/2/18 19:26
12891335839754848798
医疗费募捐
50
QIQIY
2018/2/18 15:21
12891335839754842653
医疗费募捐
20
legal highl 李狗嗨
2018/2/18 13:22
12891335839754839889
我要捐红包
5
Miley
2018/2/18 11:57
12891335839754837860
我要捐红包
30
(>.<)+
2018/2/18 4:49
12891335839754825217
医疗费募捐
25
aR.渔
2018/2/18 1:04
12891335839754823964
助养猫咪一个月
50
miumiu
2018/2/17 23:57
12891335839754822747
医疗费募捐
20
谭秀容
2018/2/17 23:33
12891335839754822041
医疗费募捐
50
KARON
2018/2/17 23:32
12891335839754822002
狗粮款募捐--5元一斤比乐
50
KARON
2018/2/17 23:31
12891335839754821988
猫粮款募捐-5元一斤比乐
50
KARON
2018/2/17 23:20
12891335839754821707
猫粮款募捐-5元一斤比乐
50
June
2018/2/17 23:15
12891335839754821546
医疗费募捐
5
Zzz0=0
2018/2/17 17:21
12891335839754810443
我要捐红包
5
紫芊飞絮??
2018/2/17 13:43
12891335839754803083
我要捐红包
10
Menly Au
2018/2/17 11:14
12891335839754799752
我要捐红包
50
宝宝猪
2018/2/17 9:29
12891335839754795974
我要捐红包
20
legal highl 李狗嗨
2018/2/17 1:14
12891335839754787575
我要捐红包
30
Beauty Rabbit
2018/2/16 22:24
12891335839754784329
我要捐红包
10
Vivianzou
2018/2/16 18:37
12891335839754778304
我要捐红包
50
砗磲
2018/2/16 18:21
12891335839754778034
我要捐红包
100
钟多多
2018/2/16 18:05
12891335839754777743
我要捐红包
5
? ? 糍粑楊佳酱&#728; &sup3;&#728; ?
2018/2/16 17:46
12891335839754777358
我要捐红包
10
&#128062;吉吉。...&#128008;
2018/2/16 17:00
12891335839754776539
我要捐红包
30
画眠
2018/2/16 16:46
12891335839754776228
我要捐红包
50
nicole霍霍霍
2018/2/16 16:28
12891335839754775877
我要捐红包
5
&#128035;
2018/2/16 16:24
12891335839754775788
我要捐红包
5
张兔子&#128048;
2018/2/16 16:20
12891335839754775704
我要捐红包
100
三文鱼
2018/2/16 16:16
12891335839754775639
我要捐红包
50
Lingling
2018/2/16 16:05
12891335839754775404
我要捐红包
5
Miley
2018/2/16 15:58
12891335839754775257
我要捐红包
20
白帆
2018/2/16 15:36
12891335839754774793
我要捐红包
5
奶油多多&#127800;
2018/2/16 15:34
12891335839754774749
我要捐红包
30
?惜语?
2018/2/16 15:33
12891335839754774739
我要捐红包
20
我系李敏菇(一猫一狗有一只故事)
2018/2/16 15:33
12891335839754774721
我要捐红包
100
小玲玲
2018/2/16 15:29
12891335839754774683
我要捐红包
5
Alche
2018/2/16 15:19
12891335839754774449
我要捐红包
5
多娇exo
2018/2/16 15:18
12891335839754774431
我要捐红包
50
winsy
2018/2/16 15:13
12891335839754774348
我要捐红包
10
雁南飞
2018/2/16 15:10
12891335839754774269
我要捐红包
10
SAMMI
2018/2/15 22:36
12891335839754756274
猫粮款募捐-5元一斤比乐
10
&#128126;Bonnie&#127887;
2018/2/15 21:55
12891335839754755541
猫粮款募捐-5元一斤比乐
10
貓記
2018/2/15 11:09
12891335839754743992
助养小型狗狗1一个月
200
Linxuan
2018/2/15 8:42
12891335839754737664
助养猫咪一个月
50
叶丽Fanly
2018/2/14 22:45
12891335839754725692
我要捐红包
5
你看见过我的
2018/2/14 21:46
12891335839754723363
我要捐红包
10
&#128420;&#128128;失心瘋再次發作&#129412;&#127752;
2018/2/14 21:45
12891335839754723328
助养小型狗狗1一个月
100
六十蚊
2018/2/14 15:30
12891335839754713443
猫粮款募捐-5元一斤比乐
100
鱼鱼*&#65381;&#65381;*&#128008;
2018/2/14 15:25
12891335839754713251
我要捐红包
10
木萍·13660766147
2018/2/14 13:03
12891335839754705004
狗粮款募捐--5元一斤比乐
50
长春藤
2018/2/14 13:02
12891335839754704950
猫粮款募捐-5元一斤比乐
50
长春藤
2018/2/13 18:31
12891335839754639192
助养小型狗狗1一个月
100
CM
2018/2/13 14:41
12891335839754632527
我要捐红包
10
风彩
2018/2/13 11:25
12891335839754628217
助养大型狗狗一个月
200
Grace. M
2018/2/13 11:22
12891335839754628156
助它过冬,传递你的温暖
10
Grace. M
2018/2/13 10:59
12891335839754627446
狗粮款募捐--5元一斤比乐
10
阿为
2018/2/13 10:58
12891335839754627436
猫粮款募捐-5元一斤比乐
10
阿为
2018/2/13 1:37
12891335839754615798
猫糖(猫咪吸X专业)
32
屁屁大王
2018/2/11 21:20
12891335839754534979
猫粮款募捐-5元一斤比乐
100
郑田(fun)
2018/2/10 23:51
12891335839754451107
我要捐红包
5
ohohiyo
2018/2/10 20:52
12891335839754443596
助养小型狗狗1一个月
100
Sophie Lin &#2858;&#128519;&#2835;
2018/2/9 23:43
12891335839754369791
助养大型狗狗一个月
2000
缘聚桌游? Joyce.L?
2018/2/9 23:42
12891335839754369768
助养小型狗狗1一个月
1000
缘聚桌游? Joyce.L?
2018/2/9 21:02
12891335839754363567
助它过冬,传递你的温暖
100
Angel
2018/2/9 12:03
12891335839754322452
助养大型狗狗一个月
200
Joyce
2018/2/9 9:58
12891335839754306778
狗粮款募捐--5元一斤比乐
50
?惜语?
2018/2/8 22:59
12891335839754294452
我要捐红包
30
爱自由
2018/2/8 22:46
12891335839754294144
猫粮款募捐-5元一斤比乐
10
彭敏
2018/2/8 22:38
12891335839754293879
狗粮款募捐--5元一斤比乐
5
昭仔&#128262;
2018/2/8 22:38
12891335839754293858
猫粮款募捐-5元一斤比乐
5
昭仔&#128262;
2018/2/8 1:24
12891335839754226708
狗粮款募捐--5元一斤比乐
5
&#128068; 纪宝宝&#128068;
2018/2/8 1:24
12891335839754226703
猫粮款募捐-5元一斤比乐
5
&#128068; 纪宝宝&#128068;
2018/2/8 0:05
12891335839754225536
狗粮款募捐--5元一斤比乐
50
冯慧
2018/2/8 0:05
12891335839754225532
猫粮款募捐-5元一斤比乐
50
冯慧
2018/2/7 23:53
12891335839754225171
狗粮款募捐--5元一斤比乐
95
尼斐~Faye~
2018/2/7 21:04
12891335839754216424
我要捐红包
5
木萍·13660766147
2018/2/7 19:37
12891335839754207997
医疗费募捐
200
.
2018/2/7 17:58
12891335839754203363
医疗费募捐
30
冰~
2018/2/7 17:36
12891335839754201686
医疗费募捐
10
月芊雪
2018/2/7 16:51
12891335839754196939
医疗费募捐
20
..
2018/2/7 16:38
12891335839754195795
医疗费募捐
10
安酱
2018/2/7 16:29
12891335839754194774
医疗费募捐
100
&#127872;3碎碎3 Niki&#127872;
2018/2/7 16:28
12891335839754194815
医疗费募捐
100
&#128139;老李&#128099;
2018/2/7 16:28
12891335839754194782
医疗费募捐
20
燚燚燚
2018/2/7 14:55
12891335839754185299
助养小型狗狗1一个月
100
a co
2018/2/7 9:12
12891335839754139295
助它过冬,传递你的温暖
100
MingmingCage
2018/2/7 7:33
12891335839754134968
爱笑天使2018年公益台历
78
千蘇
2018/2/6 23:31
12891335839754128833
我要捐红包
1000
德仔
2018/2/6 23:25
12891335839754128662
猫粮款募捐-5元一斤比乐
5
德仔
2018/2/6 23:09
12891335839754128095
我要捐红包
5
德仔
2018/2/6 19:39
12891335839754110253
助养小型狗狗1一个月
100
德明
2018/2/6 19:38
12891335839754110193
助养猫咪一个月
50
德明
2018/2/6 19:12
12891335839754107551
狗粮款募捐--5元一斤比乐
150
&#127881;&#127775;Miu&#128049;
2018/2/6 19:12
12891335839754107523
猫粮款募捐-5元一斤比乐
150
&#127881;&#127775;Miu&#128049;
2018/2/6 0:17
12891335839754027658
助它过冬,传递你的温暖
10
Major
2018/2/5 22:51
12891335839754025164
狗粮款募捐--5元一斤比乐
10
Vivianzou
2018/2/5 19:33
12891335839754008043
助它过冬,传递你的温暖
30
legal highl 李狗嗨
2018/2/5 18:59
12891335839754004507
我要捐红包
5
Miley
2018/2/5 15:00
12891335839753980720
助它过冬,传递你的温暖
10
&#2385;ノ*猫眠花下。
2018/2/5 14:52
12891335839753979790
助养猫咪一个月
500
熊孩子马洛伊
2018/2/5 13:26
12891335839753970946
助养猫咪一个月
200
Cris
2018/2/5 12:47
12891335839753965157
助它过冬,传递你的温暖
10
moon
2018/2/5 12:44
12891335839753964569
助它过冬,传递你的温暖
50
猪仔一号
2018/2/5 11:57
12891335839753954830
助它过冬,传递你的温暖
500
L.Wei
2018/2/4 23:03
12891335839753918668
狗粮款募捐--5元一斤比乐
5
小云
2018/2/4 20:27
12891335839753899832
猫粮款募捐-5元一斤比乐
50
?惜语?
2018/2/4 8:28
12891335839753807773
助养小型狗狗1一个月
100
王新 &#127796; &#128115; &#128588;
2018/2/3 21:03
12891335839753790334
助养猫咪一个月
50
江佳謙
2018/2/3 20:38
12891335839753787352
我要捐红包
5
? ? 糍粑楊佳酱&#728; &sup3;&#728; ?
2018/2/3 17:33
12891335839753765307
助养猫咪一个月
50
★大苹果★
2018/2/3 15:03
12891335839753739143
小佩宠物随行杯
59
Anne
2018/2/3 12:58
12891335839753709865
猫粮款募捐-5元一斤比乐
20
&#128126;Bonnie&#127887;
2018/2/3 12:58
12891335839753709802
狗粮款募捐--5元一斤比乐
20
&#128126;Bonnie&#127887;
2018/2/2 16:14
12891335839753654014
医疗费募捐
5
麦乐cool
2018/2/2 0:31
12891335839753589257
助养猫咪一个月
50
潕&#128026;淚
2018/2/2 0:07
12891335839753588877
我要捐红包
5
ohohiyo
2018/2/1 23:10
12891335839753587512
助它过冬,传递你的温暖
10
关乜
2018/2/1 18:27
12891335839753567186
狗粮款募捐--5元一斤比乐
50
长春藤
2018/2/1 18:26
12891335839753567023
猫粮款募捐-5元一斤比乐
50
长春藤
2018/2/1 14:04
12891335839753537942
助它过冬,传递你的温暖
50
果然係&#9924;china&#9924;
2018/2/1 13:03
12891335839753529469
助养小型狗狗1一个月
100
jf3012
2018/2/1 9:35
12891335839753500650
助它过冬,传递你的温暖
1000
刘欣
2018/2/1 9:10
12891335839753499807
喵汪星人贺岁新年红包
19.9
2018/2/1 0:03
12891335839753490763
猫粮款募捐-5元一斤比乐
5
L-zhy

您需要登录后才可以回帖 登录 | 立即注册

本版积分规则

QQ|小黑屋|手机版|Archiver|爱笑天使动物关爱中心 ( 粤ICP备11097322号 )

GMT+8, 2026-4-18 03:59 , Processed in 0.067670 second(s), 17 queries .

Powered by Discuz! X3.4

Copyright © 2001-2021, Tencent Cloud.

快速回复 返回顶部 返回列表